
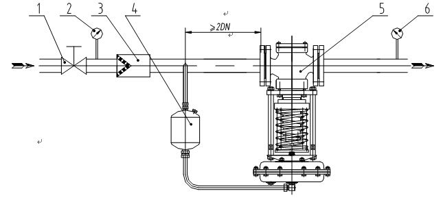
自力式调理阀装置图

自力式调理阀地面装置图
自力式调理阀的装置与调试
一、、、带指挥器型调压原理
指挥器操作型自力式压力调理阀无需外加能源,使用被调介质自身压力作为动力源,引入指挥器以控制主阀的阀芯位置来改变阀门的介质流量,使阀后压力坚持恒定。。介质由阀体上箭头偏向流经阀体,上游压力P1经由滤减压阀进入指挥器B室作为驱动源使用。。受控的下游压力P2经到茏鬈传送到指挥检测室A,并在此转换成定位力。。当下游压力升高或降低时,使指挥器阀芯位移,气源进入C,使调压阀趋向开启或关闭,从而抵达减压、、、稳压的目的。。
二、、、装置注重事项:
1、、、阀门装置偏向与流向一定要包管一致。。
2、、、阀门使用工艺参数一定要与名牌一致。。
3、、、管道内要求介质清洁,无粉尘,坚硬的颗粒。。
三、、、调试
1、、、缓慢翻开阀前手动阻止阀,并视察阀后管道压力表,审查压力是否在阀门设计值内。。(注:瞬间翻开阀前控制阀门)
2、、、如阀后压力与设计值一致,无需调试。。
3、、、如阀后压力不在工艺值规模内,首先翻开防雨罩,调解蝴蝶螺母。。(顺时针调理,阀后压力增大,反之减小。。)
4、、、如阀门有震荡或压力不稳固。。先视察减压阀压力,是否在2-2.5kg规模内。。
5、、、如不在2-2.5kg规模内,调理减压阀使值落在以上规模内。。
6、、、若是震荡,翻开限流阀防雨罩,松开拼紧螺母,顺时针转动限流阀芯螺杆究竟后再逆时针转动一周,再视察阀门是否震荡。。
7、、、调试完毕后,将拼紧螺母拼紧。。